Zum Hauptinhalt springen Zur Suche springen Zur Hauptnavigation springen

  Kostenlose Lieferung ab 89,-€

  Schneller Versand

  über 85 Jahre Erfahrung

  Mehr als 50.000 Produkte auf Lager

Menü

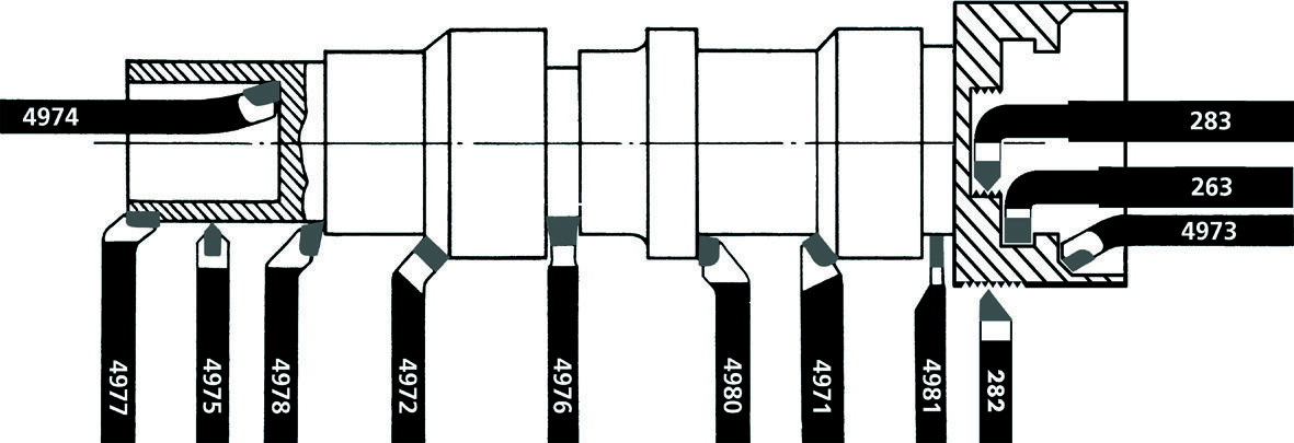
Produktinformationen "FORMAT Drehmeißel HM DIN4971 Rechts 32x32x170mm P25 / 30"

Gerader Drehmeißel, Hartmetall, DIN 4971/ISO 1, P25/P30, rechts

Ausführung: DIN 4971-DIN 4981 bzw. nach Werksnormen DIN 263/282 und 283. Alle Stahlschäfte mit ca. 750 N/mm² Festigkeit und plan gefräster Auflagefläche.
Alle Drehmeißel sind mit einer aufgelöteten und scharf geschliffenen Hartmetall-Schneidplatte versehen.
Toleranz Gesamtlänge: max. ± 5 %.
Werkstoff/Schneidplatten:
HM-Sorten ISO-Bereich P25/P30 und K10/K20.

Alle Drehmeißel sind auch in den Hartmetallsorten P10, P20, P40, M10/20 auf Anfrage lieferbar.



Anwendung: Für allgemeine Dreharbeiten.

P25/P30 ist geeignet für Stahl, Stahlguss, langspanende(n) Eisenwerkstoffe und Temperguss.
DIN: DIN 4971
Gesamtlänge: 170 mm
Schaft-vierkant: 32 x 32 mm
Schneidstoff: HM
Angaben zur verantwortlichen Person (Informationspflichten zur GPSR Produktsicherheitsverordnung)
Einkaufsbüro Deutscher Eisenhändler GmbH
EDE Platz 1
42389 Wuppertal, Deutschland

Ähnliche Produkte

34 %
WILKE Drehmeissel HM DIN4971 links 10x10x90mm P25/30
Beschichtung: nv | DIN: nv | Gesamtlänge: 90 | Schneidstoff: nv | Werkzeugaufnahme: nv

Lieferzeit: 1-3 Werktage**

4,69 €* 7,14 €*
35 %
WILKE Drehmeissel HM DIN4975 16x10x110mm P25/30
Beschichtung: nv | DIN: nv | Gesamtlänge: 110 | Schneidstoff: nv | Werkzeugaufnahme: nv

Lieferzeit: 1-3 Werktage**

5,57 €* 8,57 €*
34 %
WILKE Eckdrehmeissel HM rechts DIN4974 P25/30 8x8x125mm
Beschichtung: nv | DIN: nv | Gesamtlänge: 125 | Schneidstoff: nv | Werkzeugaufnahme: nv

Lieferzeit: 1-3 Werktage**

4,86 €* 7,38 €*
FORMAT Stirndrehmeißel HM D4977 Rechts 32x32x170mm P25 / 30

Lieferzeit: 1-3 Werktage**

8,91 €*
Produkt Anzahl: Gib den gewünschten Wert ein oder benutze die Schaltflächen, um die Anzahl zu erhöhen oder zu reduzieren.
34 %
WILKE Drehmeissel HM DIN4972 links 10x10x90mm P25/30
Beschichtung: nv | DIN: nv | Gesamtlänge: 90 | Schneidstoff: nv | Werkzeugaufnahme: nv

Lieferzeit: 1-3 Werktage**

4,94 €* 7,50 €*
34 %
WILKE Drehmeissel HM DIN4980 links 10x10x90mm P25/30
Beschichtung: nv | DIN: nv | Gesamtlänge: 90 | Schneidstoff: nv | Werkzeugaufnahme: nv

Lieferzeit: 1-3 Werktage**

4,78 €* 7,26 €*
WILKE Drehmeissel HM ähnlich DIN283 rechts 16x16x180mm P25/30
Beschichtung: nv | DIN: nv | Gesamtlänge: 180 | Schneidstoff: nv | Werkzeugaufnahme: nv

Varianten ab 12,26 €*

Lieferzeit: 1-3 Werktage**

15,68 €*
38 %
WILKE Stirndrehmeissel HM DIN4977 rechts P25/30 16x16x110mm
Beschichtung: nv | DIN: nv | Gesamtlänge: 110 | Schneidstoff: nv | Werkzeugaufnahme: nv

Lieferzeit: 1-3 Werktage**

6,33 €* 10,29 €*
WILKE Hakendrehmeissel HM ähnlich DIN263 R 10x10x140mm P25/30
Beschichtung: nv | DIN: nv | Gesamtlänge: 140 | Schneidstoff: nv | Werkzeugaufnahme: nv

Lieferzeit: 1-3 Werktage**

12,19 €*
34 %
WILKE Drehmeissel HM DIN4973 rechts 8x8x125mm P25/30
Beschichtung: nv | DIN: nv | Gesamtlänge: 125 | Schneidstoff: nv | Werkzeugaufnahme: nv

Lieferzeit: 1-3 Werktage**

4,86 €* 7,38 €*
35 %
WILKE Eckdrehmeissel HM links DIN4978 P25/30 16x10x110mm
Beschichtung: nv | DIN: nv | Gesamtlänge: 110 | Schneidstoff: nv | Werkzeugaufnahme: nv

Lieferzeit: 1-3 Werktage**

5,89 €* 9,10 €*
FORMAT Hakendrehmeißel 263 Rechts HM 32x32x300mm P25 / 30

Lieferzeit: 1-3 Werktage**

14,65 €*
Produkt Anzahl: Gib den gewünschten Wert ein oder benutze die Schaltflächen, um die Anzahl zu erhöhen oder zu reduzieren.